يُعتبر قسم الأبحاث والتطوير في شركات التكنولوجيا العملاقة من أهم الأقسام على الاطلاق. وتمتلك هذه الشركات فرق من الباحثين والمهندسين والمصممين في جميع أنحاء العالم يعملون على ابتكار تقنيات مستقبلية أو ايجاد حلول للمشاكل القائمة. تقوم هذه الشركات بتسجيل الآلاف من براءات الاختراع سنوياً، على سبيل المثال مُنحت سامسونج 2413 براءة اختراع في 2019 فقط. يمكن من خلال براءات الاختراع هذه إلقاء نظرة على ابتكارات الهاتف المحمول المستقبلية وما هو محتمل أن تنتجه هذه الشركات بعد ذلك أو على الأقل ما تفكر فيه الشركة للمستقبل.
سوف نستعرض هنا بعض الأفكار التي وردت في براءات الاختراع التي حصلت عليها شركات آبل وسامسونج في الفترة الأخيرة.
شركة آبل
أجهزة استشعار صغيرة يمكنها اكتشاف الغازات السامة
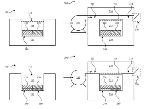
مُنحت شركة Apple براءة اختراع لمجموعة من أجهزة الاستشعار القادرة على اكتشاف مجموعة من الغازات الضارة مثل أول أكسيد الكربون وأول أكسيد النيتروجين وثاني أكسيد النيتروجين ومركبات عضوية متطايرة وغيرها.
تعتبر أجهزة الاستشعار هذه من ابتكارات الهاتف المحمول المستقبلية حيث انها قد يتم دمجها في الiPhone أو Apple Watch وبالتالي ستعمل على تنبيه المستخدمين في حالة اكتشاف غاز ضار بالقرب منهم.

سوار الساعة ذاتي الربط
وصف هذه البراءة هو “تعديل ديناميكي للأجهزة الإلكترونية القابلة للارتداء” بمعنى أن أساور Apple Watch ستكون ذاتية الضبط وسيتمكن مرتديها من شد أو فك السوار عن طريق شاشة الساعة، أو حتى تلقائياً طبقاً للبيانات البيومترية من الساعة. فعلى سبيل المثال عند ممارسة تمارين اللياقة البدنية أو الأنشطة الرياضية ستقوم الساعة بشد السوار تلقائياً، والعكس عند ارتداء الساعة بشكل تقليدي.

كاميرا مثبتة في سوار الساعة
تعتبر براءة الاختراع هذه واحدة من ابتكارات الهاتف المحمول المستقبلية والتى توضح وضع كاميرا في سوار مرن اضافي غير السوار الأصلي للساعة مما يجعل تحريكه سهلاً ويسمح لك بالتصوير دون تحريك معصمك.
تستطيع بهذه الكاميرا التقاط الصور إما عبر شاشة الساعة أو عبر الiPhone أو الiPad، ويمكن بعد ذلك مشاركتها مع أي جهاز آخر متصل بالساعة.
في ظل وجود القدرة على الاتصال الخلوي من الساعة، ومع توافر خاصية التصوير، قد يصبح المستخدمين أكثر اعتمادًا على ساعتهم الذكية والتخلي عن حمل الهاتف خاصةً عند القيام بأنشطة رياضية مثل الجري والسباحة وغيرها.

نظام واحد بأجهزة إلكترونية متعددة
هذه التقنية من ابتكارات الهاتف المحمول المستقبلية تسمح لجهازين أو أكثر بالعمل كجهاز واحد عندما يتم تقريبهما من بعض من خلال استخدام أجهزة استشعار مثبتة في الجهازين.
تشرح براءة الاختراع أن تقوم الأجهزة المنفصلة بالكشف تلقائيًا عندما يتم وضعها معًا بشكل متجاور ومن ثم مشاركة صورة عرض مشتركة عبرها. وتترك المجال أيضاً أمام إمكانية استخدام التقنية لإنشاء جهاز واحد قابل للانحناء يتكون من شاشتين في اتصال سلس مع بعضهما البعض.

شركة سامسونج
شاشة قابلة للإطالة
حصلت شركة سامسونج على براءة اختراع جديدة لهاتف ذكي مزود بشاشة قابلة للإطالة يمكن أن تمنح المستخدمين شاشة أكبر عند الحاجة، ويمكن للمستخدم زيادة أو تقليل حجم الشاشة بمساعدة لوحة خلفية متحركة.
يحتوي الهاتف الذكي الحاصل على براءة الاختراع أيضًا على مستشعر يمكنه التعرف على إحداثيات اللمس في الوقت الفعلي لحساب درجة زيادة أو نقصان حجم شاشة العرض.

جهاز يحتوي 6 كاميرات في الخلف
كشفت براءة اختراع حديثة ضمن ابتكارات الهاتف المحمول المستقبلية لشركة Samsung عن جهاز جديد يحتوي على 6 كاميرات في الخلف، والجديد هنا ليس فقط وجود 6 كاميرات، ولكن أيضاً قدرة هذه الكاميرات على الحركة أفقياً أو رأسياً عند تفعيل الكاميرا. وهذا يُمكن المستشعرات من تحقيق طول بؤري أوسع بشكل عام وقد يساعد في إنتاج لقطات بانورامية دون تحريك الهاتف نفسه.

تصميم هاتف ذكي قابل للطي من جانبين
تظهر براءة الاختراع هاتفًا ذكيًا يمكن طيه من أعلى وأسفل الجهاز. يمكن طي الجزء السفلي إلى الأمام بينما يمكن طي الجزء العلوي باتجاه الجزء الخلفي من الهاتف. ومن الصور يبدو أنه لا يمكن طي الجهاز بشكل مسطح تمامًا.

ساعة مع شاشة ممتدة
وفقاً لرسومات براءة الاختراع، تأتي الساعة الذكية بشاشة مستطيلة، والتي يمكن أن تمتد بعرض الساعة إلى ما يقرب من ضعف حجمها. أيضاً يتضح أن تصميم الشاشة يتناسق مع تصميم السوار، وتأتي بشكل مقوس على معصم المستخدم. لا تكشف البراءة عن الكثير من التفاصيل، ولا توجد أيضًا طريقة لمعرفة كيف ستقوم سامسونج بتنفيذ الفكرة لأنه لا توجد معلومات حول المواد التي ستستخدمها.

تبقى هذه الأفكار والعديد غيرها براءات اختراع فقط حتى الآن، تقوم الشركات بتسجيلها لتأمين حقوقها الفكرية لمنتجاتها المستقبلية، والأمر متروك لها للاحتفاظ بها وتنفيذها في المستقبل أو التخلص منها لعدم فعاليتها أو صعوبة تنفيذها.

