أيفون 15 برو يأتي بهيكل من التيتانيوم ومنفذ USB-C لأول مرة

أيفون 15 برو

أعلنت شركة أبل في حدث اليوم عن هاتفيها الرئيسيين التاليين: أيفون 15 برو أيفون 15 برو ماكس. وعلى الرغم من أن التصميم العام يبدو مشابهًا لأجهزة العام الماضي، إلا أن هناك عددًا من الميزات الجديدة التي يمكن أن تجعل هذه الهواتف تستحق الترقية.

إقرأ المزيد

أيفون 15 يأتي بمنفذ USB-C وكاميرا بدقة 48 ميجابكسل وجزيرة ديناميكية

أيفون 15

في حدث أبل اليوم، قامت الشركة بالكشف عن هواتف أيفون 15 و15 بلس، وكما كان متوقعاً تقول شركة أبل الآن وداعًا لمنفذ Lightning الذي قدمته في عام 2012 مع أيفون 5، ويحل مكانه، USB-C.

إقرأ المزيد

تأكيد موعد حدث أبل للإعلان عن هواتف أيفون 15 الجديدة في 12 سبتمبر

حدث أبل سبتمبر

حددت شركة أبل موعدًا لحدثها السنوي في سبتمبر، والذي ستكشف من خلاله بالتأكيد عن سلسلة هواتف أيفون 15، بالإضافة إلى الإصدارات الجديدة من الأجهزة الأخرى. سيكون حدث أبل المنتظر يوم 12 سبتمبر الساعة الخامسة مساءً بتوقيت جرينتش، الثامنة مساءً بتوقيت القاهرة. وكما هو الحال دائمًا، سيتم بث الحدث عبر الإنترنت على apple.com وكذلك في تطبيق Apple TV.

إقرأ المزيد

أبل قد تتيح التحكم في هواتف أيفون وأجهزة الكمبيوتر الخاصة بها عن طريق الخاتم الذكي

أبل الخاتم الذكي

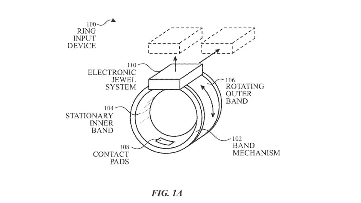
تواصل شركة أبل العمل على مشروع الخاتم الذكي الخاص بها، حيث حصلت الشركة على براءة اختراع لجهاز يمكن ارتداؤه والذي سيكون لديه القدرة على التحكم في الأجهزة الأخرى عن طريق اللمس.

إقرأ المزيد

كل ما تريد معرفته عن حدث أبل القادم في سبتمبر 2023: أجهزة أيفون 15 وساعة Apple Watch 9 والمزيد

حدث أبل سبتمبر 2023

سبتمبر هو الشهر المتوقع لاستضافة حدث أبل التالي، حيث من المتوقع أن يشهد الحدث الإعلان عن أجهزة سلسلة أيفون 15 وساعة Apple Watch الجديدة، مع احتمال حدوث بعض المفاجآت. كان آخر حدث كبير لشركة أبل هو مؤتمر WWDC 2023، حيث أعلنت عن أجهزة ماك بوك جديدة ونظارة الواقع المختلط Vision Pro. سوف نستعرض في السطور التالية كل ما تريد معرفته عن حدث أبل القادم في سبتمبر 2023، والأجهزة المتوقع اطلاقها.

إقرأ المزيد

أبل تعلن عن سلسلة أيفون 15 في 13 سبتمبر

موعد أيفون 15

وفقًا لتقرير جديد صادر عن 9to5Mac، سيكون موعد الإعلان عن سلسلة أيفون 15 الخاصة بشركة أبل في 13 سبتمبر. التاريخ المتوقع سيكون يوم الأربعاء بعد ستة أيام من تاريخ الإعلان عن سلسلة أيفون 14 العام الماضي. 

إقرأ المزيد